관련링크
본문
지난 번 골프존의 백스핀에 이어 카카오는 어떻게 백스핀을 계산할까 찾아봤는데 못찾겠네요.
그래서 요즘 핫한 퍼팅연습기들은 어떻게 거리와 방향을 측정하는 지 찾아봤습니다.
제가 퍼티스트밖에 없어서 인버디랑 엑스퍼트는 특허문서만 보고 뇌내상상입니다. 혹시 잘못된 부분이 있음 알려주세요^^관계자분 계시면 샘플 빌려주시면 자세히 분석...아 아닙니다 ㅋㅋ
순서는 오래된 순입니다.
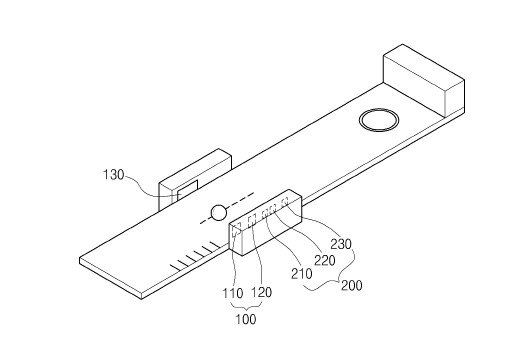
1. 퍼티스트
2010년에 특허를 받았네요.
(주)피에조랩에서 특허를 가지고 있구요, 김동국님이 대표님이신 듯.
"압전센서"가 키워드 되겠습니당
퍼티스트랑은 좀 다르게 생겼네요. 사실 이 특허에서 모양은 상관 없긴 합니다. 20이라고 표시된 게 압전센서인 모양입니다.

청구항을 볼까요.
압전센서(20)가 포함되어 있습니다.
말 그대로 압력을 전기로 바꾸는 센서입니다.
그런데 그걸로 뭘 하는지는 자세히 나와있진 않네요. 특허로 공개하지 않고 노하우로 비밀을 유지하려는 전략입니다.
추측해보면, 압전센서에 골프공이 와서 부딪치면 전기를 발생시킵니다. 세게 부딪치면 많이 발생하고 살살 부딪치면 적게 발생할테니 전압의 크기로 거리를 계산하는 듯 하네요.
2. 인버디
2014년에 특허를 받았습니다. 제목엔 특징이 없네요.
인버디 연습기는 거의 똑같네요 ㅎㅎ
청구항에는 제1 조사부와 제2 조사부가 있습니다.
광센서가 두 개 있다는 거네요.
과속카메라가 속도 어떻게 측정하는 지 아시죠? 바닥에 깔린 두 지점을 바퀴가 차례로 밟으면 그 시간차를 이용해서 속도를 계산합니다.마찬가지로 인버디도 광 센서 두 개를 이용해서 공이 차례로 지나는 시간을 계산해서 공의 속도를 계산하고 그에 따라 거리를 계산합니다.
"기린은울지않는다"님께서 댓글로 설명 해 주셨는데 7쌍의 적외선 센서 쌍을 이용하여 측정을 한다고 하시네요.
특허문서에는 모든 정보가 나와있지 않아서 한계가 있습니다^^;;;
대신 반사경을 이용해서 광이 비스듬히 반사되도록 하면 공의 방향도 알 수 있다네요.
3. 엑스퍼트
작년(2019년)에 특허를 받았네요. 따끈따끈!ㅎㅎ
앞의 두 특허에 비해 청구항에 구성이 좀 많네요.
매트에 일정한 거리를 두고 마크를 부착한 다음에 이를 카메라로 촬영합니다.
그리고 퍼터에 마커를 부착하고 이것도 촬영하고, 볼도 촬영합니다.
카메라에 잘 인식되려면 마커는 매트에서 눈에 잘 띄는 색이 좋겠네요. 공도 초록 볼은 쓰지 마세요 ㅋㅋ
이런식입니다. 사실 (a)처럼 위에서 찍는 게 가장 정확하긴 할텐데 가정에서 그러긴 쉽지 않죠. 그래서 (b)처럼 찍힙니다. 바닥에서 최소 얼마 이상 띄워야 하죠? 이런 이유 때문입니다.
근데 (b)처럼 찍혀도 먀커들(11, 12, 13, 14)의 간격을 알고있기 때문에 카메라로 공을 촬영하면 실제 움직인 거리를 알아낼 수 있습니다. 퍼터도 마찬가지.
그래서 볼의 스피드와 퍼터의 스피드를 모두 계산할 수 있습니다.
그리고 나서 뭐 TV에 표시하면 되겠네요^^
퍼티스트, 인버디와는 달리 퍼터의 스윙스피도 계산할 수 있군요.
장단점은 판단하실 수 있겠죠? 제가 여기 쓰면 게시글 삭제 당할수도 ㄷㄷㄷ
골포 여러분 다음 라운딩에서 원펏만 하시길!!!^^
|
|
|
|
|
|
댓글목록
|
|
역시 변리사님...ㄷㄷ 결론은 뭘 사면 되는거져??? 퍼티스트로는 안되는건가요? |
|
|
쉿! 고소당할 수 있습니다 형님 ㅋㅋㅋㅋㅋ |
|
|
살짝쿵 쪽지로 ...ㅋ |
|
|
추천추천!
|
|
|
저는 그러한 말을 한 적이 없....^^;;;;; |
|
|
그럼 엑스퍼트가 짱인건가요?
|
|
|
인버디랑 엑스퍼트는 안써봐서 잘^^;;; |
|
|
대단하십니다. |
|
|
추천드립니다. |
|
|
음 쉿!!!!
|
|
|
쉿! 한 건 장난이고요^^ 정말로 전 잘 모르겠어요...특허만 보고 판단하기엔 무리가 있습니다 ㅎㅎ |
|
|
후니야... 니가 이쪽이라 쫌 아는구나.. ㅋㅋ
|
|
|
공 임팩트시의 열리고 닫힘도 계산이 가능하고 퍼터의 경로각도도 계산이 가능하고.. 그러니까 2배쯤 비싸겠지..
|
|
|
특허는 돈 안되고요 새로운 퍼팅연습기 하나 만들어볼까요?ㅋㅋㅋㅋㅋ |
|
|
와..... 추천 백개 드릴수가.... 없네요 ㅋㅋㅋ
|
|
|
와 장난아니네요
|
|
|
와~ 변리사님이 계셨네요~~
|
|
|
아...제가 특허공보를 대충 보다보니...도 1이 종래기술이었네요^^
|










