관련링크
본문
애초에 소송이 있었는지도 몰랐는데 올 7월에 이런 일이 있었네요.
골프존, 카카오VX 특허침해 소송서 최종 승소
골프존은 2016년 카카오VX가 자사의 비거리 조정 기술 특허를 침해했다며 특허침해 소송을 제기했다. 골프존의 특허는 게임에서 공이 놓인 지형 조건과 공을 타격하는 매트 조건을 고려해 비거리를 조정하는 기술이다.
1심은 골프존의 주장을 받아들여 카카오VX에 특허 침해 제품과 관련한 생산설비 등을 전량 회수·폐기하고 골프존에 약 25억원을 배상하라고 선고했다.
반면 2심은 카카오VX 프로그램이 페어웨이 매트에서 타격할 때만 지형 조건과 매트 조건을 함께 고려해 비거리를 조정하고, 트러블 매트에서 타격할 때는 지형 조건에 따른 비거리 조정을 하지 않아 두 기술이 다르다며 골프존의 청구를 기각했다.
하지만 대법원은 "카카오VX의 제품도 결국 지형 조건과 매트 조건을 함께 고려해 비거리를 조정하는 것으로 골프존의 발명을 침해한다고 봄이 타당하다"며 골프존의 손을 들어줬다.
찾아봤더니 뭐 대단한 것은 아닙니다.
특허 공보 : http://kpat.kipris.or.kr/kpat/1020100140763.pdf?method=fullText&applno=1020100140763&pub_reg=R
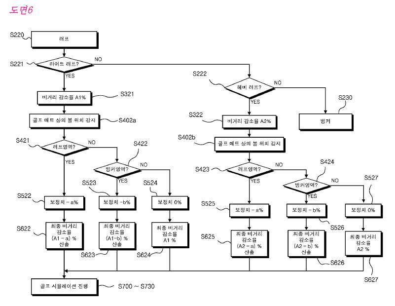
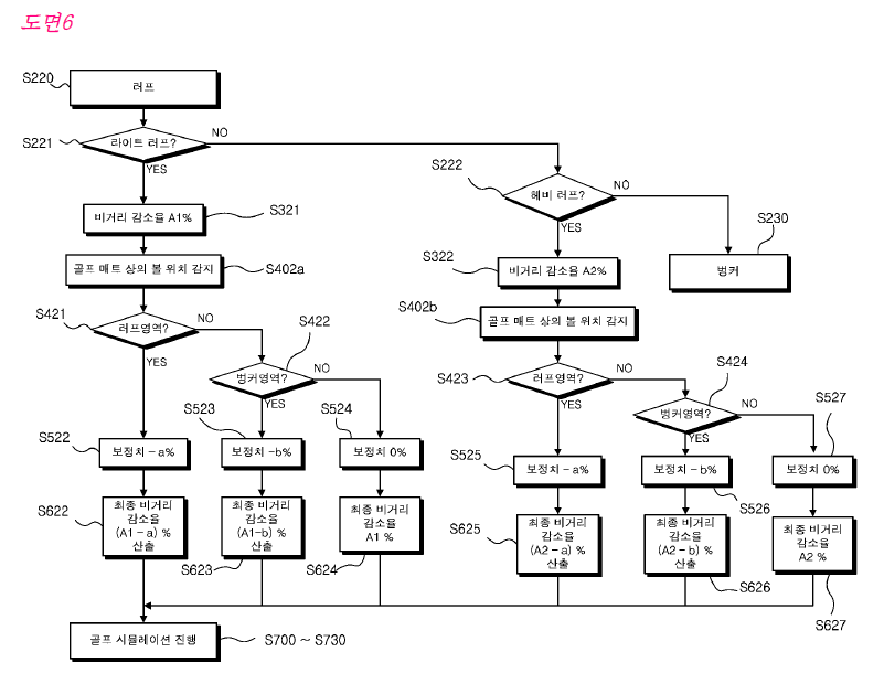
1. 볼이 놓인 영역은 5가지로 나눠집니다.
페어웨이, 라이트 러프, 헤비 러프, 페어웨이 벙커, 그린 벙커
2. 스크린 상 볼의 위치, 매트 상 볼의 위치가 있습니다.
3. 러프 매트나 벙커 매트에 올리면 치기가 힘듭니다.
그래서 스크린 상에서 러프인데 페어웨이 매트에서 치면 비거리 패널티(감소치)를 줍니다.
그런데 정상적으로 러프 매트에서 치면 화면에서 비거리 패널티가 사라지는 것 아실 겁니다.
4. 여기에 보정치가 추가됩니다.
설정된 값 또는 시뮬레이션한 값이라고 하는데 모르겠습니다.
가장 큰 조건은 라이트 러프와 헤비 러프의 구분입니다.
물리적으로 동일한 조건이니 러프 매트에서 쳐도 헤비 러프에서 치면 패널티가 더 있다는 말입니다.
시뮬레이션한 값이라고 하니 다른 조건이 있으면 라이트 러프도 패널티는 존재할 것 같습니다.
일부 스크린 골프장의 경우 러프 매트도 2종, 벙커 매트도 2종 제공하는 곳이 있는데 그 경우는 또 다르게 적용될 것 같습니다.
결론은 러프 매트에서 쳐도 거리는 덜 나온다.
설마 보정치가 음수여서 마이너스가 플러스로 변하면서 거리가 더 나오는 것은 아니라고 생각됩니다.
대부분 아시는 내용일 것으로 보입니다만 한번 적어봤습니다.
생각보다 단순해보여 카카오도 특허 피해서 구현은 할 수 있을 것 같습니다.
어떤 기사를 찾아보니 매트에 대한 것도 카카오가 쓸 수 없다고 하는데 거기까진 모르겠습니다.
|
|
|
|
|
|
댓글목록
|
|
골프존 특허 중 상업적 가치가 높은 특허 중 하나로 보여지네요. 도 6의 플로우 차트는 단지 예시일 뿐이고, 청구항 1의 권리범위가 상당히 넓어서 카카오가 회피하기는 어려울 듯 합니다. 이 특허를 죽이려고 SG골프랑 카카오랑 대법원까지 가는 싸움을 했는데 골프존이 다 이겼네요. |
|
|
오 날카로운 분석 감사합니다 |
|
|
2년전엔가 갑자기 sg 업데이트 되면서
|






